
²úÆ·Ãû³Æ£ºQ61Y¶Ôº¸Ê½¸ßѹӲÃÜ·âÇò·§
²úÆ·±êÇ©£ºÇò·§£¬£¬£¬£¬£¬£¬£¬£¬¶Ôº¸Ê½¸ßѹӲÃÜ·âÇò·§
¸üÐÂʱ¼ä£º2019/6/7 16:16:17
ÉÏÒ»¸ö²úÆ·£º Q44F/Q45F²»Ðâ¸ÖÈýͨÇò·§
ÏÂÒ»¸ö²úÆ·£ºQJ41M/F·¨À¼¸ßÎÂÇò·§
ÔÚÏ߿ͷþ£º
ÔÚÏß¶©¹º£ºÔÚÏß¶©¹º
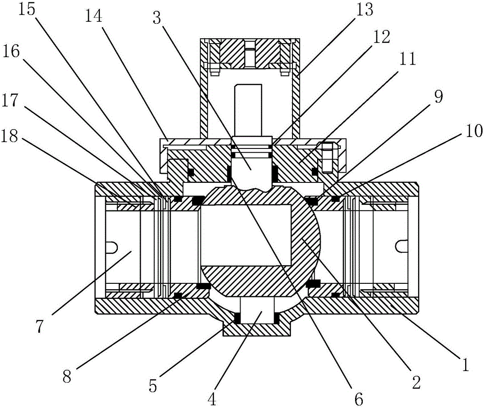
²úÆ·ÏêÇé
|
Ö÷ÒªÁã¼þ |
·§Ìå |
A105 |
LF2 |
F304 |
F304L |
F316 |
F316L |
F51 |
|||
|
ÇòÌå¡¢·§¸Ë |
420 |
LF2 |
F304 |
F304L |
F316 |
F316L |
F51 |
||||
|
ÃÜ·âȦ |
ÌØÖÖÓ²»¯ÖÊÁÏ |
||||||||||
|
|
|
||||||||||
|
ÌîÁÏ¡¢µæÈ¦ |
ÈáÐÔʯī»· ÈáÐÔʯī¾À¸ðµæ |
||||||||||
|
ÊÊÓù¤¿ö |
ÊÊÓýéÖÊ |
¸ßεĻòº¬ÓпÅÁ£µÈ½éÖÊ |
|||||||||
|
ÊÊÓÃÎÂ¶È |
-28-400¡æ -28-500¡æ¡¡¡¡¡¡ |
||||||||||
|
Ó¦Óù淶 |
Éè¼ÆÖÆÔì½Ó |
|
|||||||||
|
·¨À¼³Ù´ç½Ó |
|
||||||||||
|
½á¹¹³¤¶È½Ó |
|
||||||||||
|
Ä¥Á·ÊÔÑé½Ó |
|
||||||||||
![]() |
×¢£ºÒÔÉϵIJúÆ·ÏÈÈÝ£¬£¬£¬£¬£¬£¬£¬£¬²ÎÊý£¬£¬£¬£¬£¬£¬£¬£¬Í¼Æ¬£¬£¬£¬£¬£¬£¬£¬£¬Êý¾Ý½öÓÃÓڲο¼£¬£¬£¬£¬£¬£¬£¬£¬ÈôÊÇÐè¸ü׼ȷµÄ×ÊÁÏÇë×Éѯ¹«Ë¾ÊÖÒÕЧÀÍÈÈÏߣº18117208829





