
产品名称:H44H/Y旋启式高压止回阀
产品标签:止回阀,旋启式高压止回阀
更新时间:2019/5/22 11:21:22
上一个产品: H42X升降式底阀
下一个产品:CVWR对夹式静音止回阀
在线客服:
在线订购:在线订购
产品详情
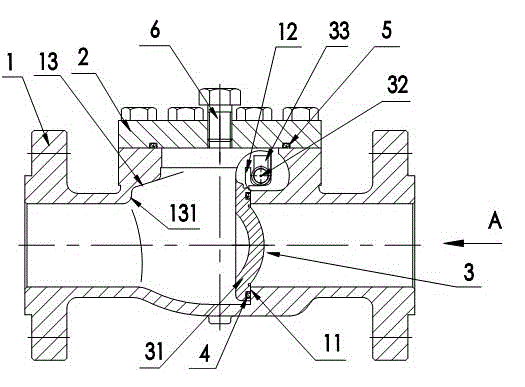
H44H/Y旋启式高压止回阀产品概述:
旋启式高压止回阀一样平常用于事情温度≤450℃,,,,,事情压力≤25.0MPa,,,,,介质为水、蒸汽、油品的高压管路系统,,,,,起避免介质倒流的作用。。。。。
H44H/Y旋启式高压止回阀产品特点
1、阀门中口接纳压力自紧式密封结构,,,,,介质压力越高,,,,,密封性能越好
2、密封面接纳堆焊司太立钴基硬质合金,,,,,具有高硬度、抗侵蚀、抗气蚀、优良的抗擦伤性能,,,,,阀门使用寿命长
3、直通式,,,,,介质流阻小
4、阀门开启和关闭是靠介质的作用力来实现的,,,,,介质回流时自动快速关闭
5、维护及磨练利便、快捷
H44H/Y旋启式高压止回阀主要手艺规范
型号 |
公称压力 PN(MPa) |
试验压力(MPa) |
适用温度(℃) |
适用介质 |
|
壳体 |
密封 |
||||
H44H-160 |
16.0 |
24.0 |
16.0 |
≤425 |
水、蒸汽、石油、石油产品等 |
H44H-250 |
25.0 |
38.0 |
25.0 |
||
H44Y-200 |
20.0 |
30.0 |
20.0 |
60 |
氢油 |
H44Y-250 |
25.0 |
38.0 |
25.0 |
-40~100 |
油品 |
H44H/Y旋启式高压止回阀主要零件质料
零件名称 |
阀体、摇杆 |
阀瓣、螺母 |
阀盖 |
销轴、四开环 |
螺栓 |
密封面 |
H44H-160 |
碳素铸钢 |
碳钢 |
碳素铸钢 |
不锈钢 |
铬钼钢 |
柔性石墨 |
H44H-250 |
碳钢 |
|||||
H44Y-200 |
||||||
H44Y-250 |
H44H/Y旋启式高压止回阀主要形状尺寸
公称通径 DN/mm |
尺寸 /mm |
重量 / |
|||||||||||
L |
D |
D1 |
D2 |
D8 |
b |
f |
b4 |
f3 |
Z-фd |
Do |
H |
||
50 |
300 |
215 |
165 |
132 |
95 |
36 |
3 |
12 |
8 |
8-ф25 |
142 |
210 |
44.5 |
65 |
340 |
245 |
190 |
152 |
110 |
44 |
3 |
12 |
8 |
8-ф30 |
161 |
227 |
54.7 |
80 |
380 |
260 |
205 |
168 |
130 |
46 |
3 |
12 |
8 |
8-ф30 |
180 |
235 |
67.5 |
100 |
430 |
300 |
240 |
200 |
160 |
48 |
3 |
12 |
8 |
8-ф34 |
210 |
274 |
101.5 |
150 |
550 |
390 |
318 |
270 |
205 |
66 |
3 |
14 |
10 |
12-ф41 |
300 |
340 |
220.6 |
200 |
650 |
480 |
400 |
345 |
275 |
78 |
3 |
17 |
11 |
12-ф48 |
375 |
374 |
404 |
300 |
900 |
665 |
570 |
510 |
380 |
100 |
3 |
23 |
14 |
16-ф54 |
480 |
505 |
1019 |
H44H-250旋启式高压止回阀
公称通径 DN/mm |
尺寸 /mm |
重量 / |
|||||||||||
L |
D |
D1 |
D2 |
D8 |
d |
f |
b4 |
f3 |
Z-фd |
Do |
H |
||
80 |
450 |
260 |
205 |
168 |
130 |
50 |
3 |
12 |
8 |
8-ф30 |
200 |
245 |
90.6 |
100 |
520 |
300 |
240 |
200 |
160 |
58 |
3 |
12 |
8 |
8-ф34 |
225 |
280 |
139 |
H44Y-200旋启式高压止回阀
公称通径 DN/mm |
尺寸 /mm |
重量 / |
|||||||||
L |
D |
D1 |
D2 |
D6 |
d |
f |
Z-фd |
D3 |
H |
||
150 |
700 |
440 |
360 |
305 |
185 |
82 |
3 |
12-ф48 |
310 |
343 |
372 |
200 |
800 |
535 |
440 |
- |
- |
- |
- |
12-ф54 |
- |
- |
- |
H44Y-250旋启式高压止回阀
公称通径 DN/mm |
尺寸/mm |
|||
L |
D |
D1 |
Z-фd |
|
65 |
400 |
260 |
203 |
8-ф30 |
80 |
450 |
290 |
230 |
8-ф34 |
100 |
520 |
360 |
292 |
8-ф41 |
150 |
700 |
440 |
360 |
12-ф48 |
200 |
800 |
535 |
440 |
12-ф54 |

注:以上的产品先容,,,,,参数,,,,,图片,,,,,数据仅用于参考,,,,,若是需更准确的资料请咨询公司手艺效劳热线:18117208829




